APPARATUS FOR FACILITATING THE BIRTH OF A CHILD BY CENTRIGUGAL FORCE

GEORGE B. BLONSKY and CHAROLETTE E. BLONSKY

Patented November 9, 1965


The present invention relates to apparatus which utilizes centrifugal force to facilitate the birth of a child at less stress to the mother.

It is known, that due to natural anatomical conditions, the foetus needs the application of considerable propelling force to enable it to push aside the constricting vaginal walls, to overcome the friction of the uteral and vaginal surfaces and to counteract the atmospheric pressure opposing the emergence of the child. In the case of a woman who has a fully developed muscular system and has had ample physical exertion all through the pregnancy, as is common with all more primitive peoples, nature provides all the necessary equipment and power to have a normal and quick delivery. This is not the case, however, with more civilized women who often do not have the opportunity to develop the muscles needed in confinement.

It is the primary purpose of the present invention to provide an apparatus which will assist the under-equipped woman by creating a gentle, evenly distributed, properly directed, precision-controlled force, that acts in unison with and supplements her own efforts.

In accordance with the invention, there is provided rotatable apparatus capable of subjecting the mother and the foetus to a centrifugal force directed to assist and supplement the efforts of the mother so that such centrifugal force and her efforts act in concert to overcome the action of resisting forces and facilitate the delivery of the child. For a better understanding of such apparatus, as well as the advantages and novel features thereof, reference is made to the following description which should be read in connection with the accompanying drawings, in which


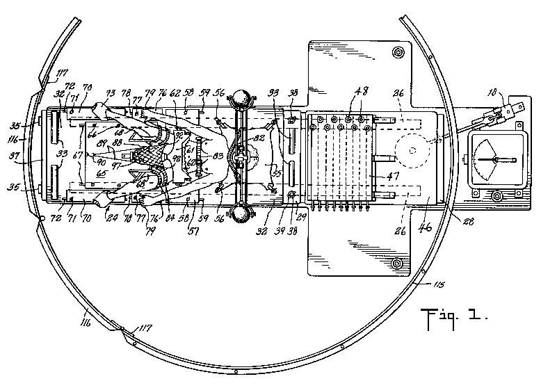
FIG. 1 is a top plan view of apparatus embodying the invention and showing the expectant mother in position thereon;


FIG. 2 is a side elevational view of the apparatus shown in FIG. 1;


FIG. 3 is an end view taken from the left of FIG. 2;


FIG. 4 is a side elevational view of a modified form of the means for supporting the mother on the apparatus; and


FIG. 5 is a view similar to FIG. 4 showing another embodiment of such means.

Referring more particularly to FIGS. 1 to 3 of the drawings, the numeral 10 indicates generally a concrete floor slab of sufficient weight and strength to securely support the apparatus of this invention in its operations. Secured to the slab 10, as by anchor bolts 11, is the base plate 12 of the apparatus. The base plate may be made of heavy cast iron and has bolted thereto an anti-friction bearing 13 for the main vertical shaft 14, a motor 15, a controller 16, a speed reducer 17 and a hand brake 18. The motor shown is a vari-speed vertical gear motor which is controlled by the controller 16, and which is arranged to drive the main vertical shall 14 at a closely controlled variable speed of revolution, through a motor sheave 19, the speed reducer 17 and a sheave 20 secured I to such shaft.

Bolted to the upper surface of sheave 20 are two short channel irons 25, 25 arranged in spaced parallel relation on opposite sides of the vertical shaft 14 and on which are mounted in transverse relation the main I-beams 26, 26. The I-beams are likewise disposed on opposite sides of shaft 14 and are balanced on the channels 25, 26, in spaced, parallel relation. Welded on the I-beams 26, 26 are a series of spaced, transverse, small deck channels 27 on which is affixed a steel deck plate 28 of elongated rectangular form and through the center of which extends the axis of the shaft 14. Mounted on the deck plate 28 is a removable stretcher frame generally designated 24 and composed of a base plate 29 adapted to lie directly upon the deck plate 28, two transverse aluminium end I-beams 30, 30 and two longitudinally extending aluminium side channels 31, 31 which are welded to the base plate 29 and to an aluminium stretcher deck 32 supported by such end beams and side channels. Attached to the outer and inner ends of the deck 32 arc handles 33 by which the stretcher frame 24 may be manipulated when positioned on and removed from the apparatus.

The stretcher frame 24 extends from one end of deck 28, past the shaft 14, and to a point beyond such shaft; the arrangement of the frame being such that the head of the woman lying on such frame overlies the upper end of shaft 14 which is located in the region between the two channel irons 25, 25. Consequently, the head of a patient on the machine is positioned at or near the center of rotation of the deck 28. At its other end, the base plate 29, of the stretcher frame is provided with a pair of spaced bayonet extensions 35 adapted to be passed through openings 36 in deck 28 and by then shifting the stretcher frame outwardly, to be brought into engagement with the outer edges of such opening which function in the nature of stops and contact with such extensions 35 to prevent further outward movement of the frame during the operations of the apparatus. The outer edges of the openings 36 are re-enforced by a transverse butt plate 37 which is welded on the top front end of the deck 28. Adjacent to the other or inner end of base plate 29, the deck 28 has suitably secured thereto two upstanding bolts 38 with which two holes in such base plate register when the extensions 35 are properly abutting the outer edges of the openings 36 and the associated edge of the butt plate 37. When the bolts 38 are projecting through such registered holes the bass plate 29 is secured to the deck 28 by wing nuts 39.

Between the bolts 38 and the other end of the deck 28, such deck has welded thereto a plurality of transverse I-beams 45 for supporting a ballast deck 46, which beams and deck 46 are designed to partially counterbalance to a given extent the stretcher frame to be mounted on the remainder of deck 28. The ballast deck 46 has fixed thereto a number (about ten) of aluminium ballast water boxes or tanks 47, each having the capacity to hold 20 pounds of water when the deck 28 is revolving. Each of the boxes 47 is provided with a filling funnel 48, a drain facet 49 and a sight glass 50 to enable filling it with an exact amount of water. The ballast water to be filled in the boxes 47 should exactly counterbalance the difference in the total weights on opposite sides of the axis of rotation of deck 28 due to the weight of the body of the woman on the stretcher, the weight of the stretcher and its associated equipment, the weight of the ballast deck 46 and the ballast tanks 47, etc. in order to assure a smooth rotational movement of the machine.

The stretcher frame 24 is provided with equipment for securing the prospective mother suitably for the operation and for assuring the safe delivery of the child. The woman's head is placed on a pillow 55 which is held in position on the stretcher deck 32 by a plurality of pillow clamps 56 so that her head may be located at or near to the center of rotation of the machine. Underlying the pelvis of the woman and mounted for longitudinal slidable movement on the deck 32 is a transverse plate 57 having guide members 58 in the form of bolts in slidable engagement with guide slots 59 extending longitudinally along the sides of deck 32. When the plate is located in the most appropriate position for the expectant mother, the wing nuts on the bolts forming the guide members 58 are tightened to secure the plate in such position. The plate 57 has welded thereto adjacent to each side of the woman's hips two upright slotted guide plates 60, 60 adapted to slidable support a girdle member 61 consisting of a cast aluminium half girdle or skirt covering only the lower abdomen and the sides of the hips and having a free open passage for the child to be born. The girdle member 61 is slidably connected to the four guide plates 60 by screws which are welded to the vertical sides of such member and project out through the slots in such plates, and wing nuts 62 which are tightened on such screws to bold the member 61 in an adjusted position on the guide plates 60. When the girdle member 61 is properly adjusted relative to the perspective mother, it prevents movement of her abdomen radially above and over the pelvis, thus assuring that all movement of the foetus will be through the natural channel, which is the main central opening in the pelvic bone. The member 61 also funnels the centrifugal pressures of organs lying between the foetus and the head of the woman towards and against the foetus, thus augmenting the latter's tendency to be pressed out of the womb through the pelvic opening and out of the mother's body.

Positioned outwardly of the slide plate 57 and mounted on the stretcher deck 32 so as to be located beneath the woman's thighs is a second sliding plate 65 provided with guide members in the form of wing bolts 66 which extend through longitudinally extending slots 67 in the deck 32 to adjustably connect such sliding plate 65 to the deck. Fixedly mounted on the plate 65 in any suitable manner are a pair of thigh holder plates 68, 68. Inasmuch as the plates 68, 68 are the main agents for preventing the woman's body from being moved radially of the axis of rotation by the centrifugal force, they are of great importance and should be made particularly sturdy and be securely connected to plate 65. Also as the whole of the centrifugal force of the woman's body will be transmitted through the slide plate 65 to the stretcher deck 32, it is advisable to use wing bolts 66 of strong construction and possibly more than two pairs of the same.

Located between the side edges of the sliding plate 65 and the side edges of the stretcher deck 32 are a pair of elongated plates 70, 70 slidably connected for longitudinal adjustment on such deck 32 by the wing bolts 71 and slots 72 in the deck 32. Suitably secured to each plate 70 is a boot member 73 for receiving and holding the woman's foot in proper relation to her position during the operation.

Also positioned on the side edge portions of the deck 32 adjacent to the sides of plate 65, and located between the plates 70 and the ends of the transverse plate 37, are two plates 76, 76. The plates 76 are each slidably connected to the deck 32 for longitudinal adjustment thereon by wing bolts 77 and slots 78 in such deck. Each of the plates 76 is provided with a hand grip 79 for the woman in the operation of the machine.

In addition to the aforesaid supports and grips, the apparatus is provided with several straps to assure the safe, steady and comfortable positioning of the woman on the stretcher. Thus, the head is held firm by a chin or neck strap 82 detachably connected at its ends to the stretcher deck 32. The body is steadied by a strap 83 provided on the transverse plate 57, and the thighs are firmly held in the thigh plates 68 by straps 84 connected to the sides of such plates.

Means are provided to assure the safe delivery of the foetus and to stop the machine immediately upon such delivery. These means comprise a pocket-shaped reception net 88 made of strong, elastic material and supported under tension by tail ropes 89 secured at one end by the tail hook 90 to the tail mast 91 fixed to the outer end of plate 65, and secured at their other diverged ends by the hooks 92 to the thigh holders 68. When properly supported in this fashion, the net 88 is barely in contact with the upright member 93 of the automatic switchout hinged "L" lever. The horizontal part 94 of the hinged "L" lever rests firmly on the switch out button 95, which latter rests lightly, but firmly, on the spring switch contactor 96. The bottom or closed end of the net 83 is lined with a thick wad of cotton 97. When the foetus leaves the mother's vagina and lands on the cotton bed 97 in the net 88, its weight, as a result of the rotation of the machine, exerts a radial centrifugal force on the bottom of the elastic net 88. This force on the net 88 presses on the upright switch-out plate 93 causing the depression of the horizontal switch-out plate 94 and the switch-out button 95, which through a known conventional circuit arrangement (not shown) causes an electric switch in the control box 16 to stop the drive motor 15 and the rotation of the whole machine.

A suitable hand brake 18 is provided adjacent to the controller 16 to enable the operator to stop quickly the inertial rotation of the machine after the current is switched off either by the new born child, or by the operator on instruction from the gynecologist in charge of the operation, or by suitable automatic means which come into operation when the rate of revolution of the machine, either through mistake or malfunction, exceeds the amount considered safe for the particular patient thereon. In the construction illustrated in FIGS. 1 to 3 of the drawings, such as automatic means is shown as constituted of a steam engine centrifugal ball governor 105 mounted on a frame 106 over the center of rotation of the machine. The frame 106 is mounted on angle irons 107 welded to the bottom surfaces of the I-beams 26. The slide ring 108 of the governor 105 carries two adjustable vertical switch-out prongs 109 which cooperate with a switch 110 positioned to control a circuit in the control box 16 at a given rotational speed of the governor. As the speed of rotation of the governor increases to such given speed, the governor balls 111 fly outwardly and upwardly and lift the sliding ring 108, which raises the prongs 109 and causes them to operate the switch 110 to cause suitable means in the controller 16 to switch out the motor 15.

For safety sake, the machine is enclosed in an annular fence 115 capable of excluding all personnel from the reach of the revolving deck 28. The fence 115 is equipped with two gates 116 which can be opened before and after spinning to facilitate safe access of personnel while installing or dismantling the stretcher 24 on the deck 28. The gates are provided with hinge spurs 117 which will not permit rotation of the deck 28 unless the gates 116 are closed.

It will he understood from the aforesaid description of the embodiment of the apparatus illustrated in FIGS. 1 to 3 of the drawings, that the expectant mother is initially installed on the stretcher 24 at a place remote from the apparatus. The stretcher it readily removed from the deck plate 28 by unscrewing the wing nuts 39, lifting the head end of the stretcher up from the deck 28, and then sliding the bayonet extensions 35 of the stretcher bottom plate 29 out of the holes 36 in the deck plate 28. The dismantled stretcher is then placed on a carting table and wheeled to the patient's bed. The patient is weighed and measurements are taken to enable proper adjustment of the girdle plate 57, the thigh plate 65, the foot plates 70, 70 and the handgrip plates 76, 76. When such plates are properly adjusted for the patient, they are fastened firmly and securely in place by lightening their associated wing nuts. The patient is then placed in position on the stretcher 24 with her bead on the pillow so that it will be near or at the center of rotation of the machine. The girdle 61 is then secured in position on the standards 60 and the inside surface of the girdle is packed firmly but not lightly with cotton wool 62, The thighs of the woman are placed inside the thigh holders 68, 68 and her feet are placed inside the boot members 73, 73. In the placement of the patient on the stretcher, the several plates on which the girdle 61, thigh holders 68, 68, boot members 73, 73 and hand grips 79, 79 are mounted, may be additionally adjusted so that the patient is comfortably, but properly and firmly positioned on the stretcher. The straps 82, 83 and 84 are now put in place and tightened to restrict the movement of the head, torso and thighs, respectively. The infant reception net 88 is then installed in position by attaching the hooks 90 and 92 to the tail post 91 and to to the thigh holders 68, 68, respectively. The inside of the net is provided with the wad of cotton 97 to protect the child against too direct a contact with the upright switchout plate 93. The patient is now ready to be whetted from her bed or the preparation room to the delivery room.

At the delivery room, the stretcher 24 is removed from the carting vehicle and placed on the deck plate 28 of the machine. In doing this, it is believed preferable to lift the head end of the stretcher about two feet above the foot end to enable the bayonet extensions 35 to be moved more readily through the openings 36 in the deck plate 28 until such extensions are firmly butted against the outer edges of such openings and the butting plate 37. In the same movement, the bolts 38 are threaded through the associated holes in the head end of stretcher plate 29 and such plate 29 is brought to rest in full contact with the deck plate 28. The wing nuts 39 are then firmly screwed onto the both 38 to solidly and immovably affix the stretcher and the patient to the deck plate 28. While the stretcher is being lowered to horizontal position on the deck plate 28, the switch-out button 95 passes through openings provided for it in the stretcher plates 29 and 32 and comes into position to be actuated by the horizontal switch arm 94.

When the patient has been properly installed in the machine, the required counter ballast weight of water, determined by the pre-operational weighing of the patient, is loaded through the funnels 48 into the ballast tanks 47. The gates 116 in the safety fence 115 are closed and latched after the stretcher carting vehicle and all personnel, except for the patient, leave the enclosure of the fence 116. The gynecologist in charge of the operation instructs the operator as to the gravitational force to be applied to the foetus and the latter takes his place at the controls 16 of the apparatus.

When the gynecologist decides that the most opportune tithe for childbirth has arrived, he instructs the operator to start the machine. when the operator moves the controller handle 21 from zero position the motor 15 is started and through the speed reducer 17 and the associated set of sheaves and belts, including the sheaves 19 and 20, the I-beam frame 26 and everything supported thereby are revolved horizontally about the vertical axis of shaft 14. As the operator moves the controller handle 21 to feed more and more current to the motor 15, the rotational speed of the machine progressively increases and so does the centrifugal force. The relationship of speed of rotation and of acceleration at three feet distance from the center of rotation is illustrated by the following table:
R.p.m.R.p.sAcceleration in ft./sec./sec/Acceleration in g's
0.00.000
31.20.52321
41.10.76642
53.90.92963
62.41.041284
69.71.161605
76.31.271926
82.31.372247

Both the body of the mother and the foetus are subjected to centrifugal forces which are functions of distance from the center of rotation and the speed of rotation. The body of the mother is firmly held in position against movement as a whole under such forces by the boot members 73, 73, the thigh holders 68, 68, the girdle 61, the hand grips 79, 79, and the belts 82, 83 and 84. However, there are no external means present which will interfere with the foetus tendency to respond to the action of the centrifugal force. Only those forces which oppose normal childbirth i.e. the frictional and constrictional forces within the mother, are to he overcome by the combined action of the mother's muscles and the centrifugal force created by the rotation of the foetus in the machine. The physician's estimate of how much of this centrifugal force will be needed to assist the mother in achieving the birth of the child and the maximum g's that can he used with safety on the particular patient, are derided upon before the operation. During the operation, the operator gradually speeds up the machine to the predetermined force which is expected to produce the birth of the child, and if such force does not accomplish this, he does not exceed it, unless the physician decides to go the higher g's. He cannot, however, go beyond the maximum g's for which the machine has been set without causing the governor 105 to shut down the machine. When in the operation of the machine, the operator reaches a rate of rotation at which the combination of pressures produced both by the created centrifugal force and by the mother exceed the childbirth resisting forces (friction and constriction), the movement of the foetus occurs and the child it delivered into the net 88. While in the net, the child is still subjected to the action of centrifugal force and is caused by such force to firmly press against the elastic bottom of the net 88. As the elastic cables 89 and the net give somewhat to this force which is equal to the weight of the child multiplied by the number of g's it is subjected to, the cotton wad 97 in the net it pressed by the child against the switch lever 93 which it actuated to cut the power from the motor 15 and may be utilized to activate an electric bell, announcing the event. The operator then applies the handbrake 18 to gently bring she machine to a complete stop. Thereupon, the stretcher with the mother on it is detached from the machine and transported to her room.

As has been above indicated, the apparatus depicted m FIGS. 1-3 of the drawings is shown by way of example and it is within the contemplation of the invention to include other embodiments containing the essential features thereof. Thus, instead of mounting the stretcher horizontally on the machine which is the preferred condition where the number of g's employed in accomplishing the birth of the child is relatively high (say above 8 g's), the machine may be constructed as is indicated in FIG. 4, to take care of births which may be brought about at much lower g's. In this connection, and before entering into a description of FIG. 4, it might be said that the centrifugal force carried by rotation of an object about a vertical axis has a horizontal direction, but due to the always present gravitational force, the actual force exerted on such object is a resultant of these two forces. The influence of the gravitational force on the direction of action of the resultant force is greatest at the lower rotational speeds, and its effect becomes progressively less and less important at the higher g's so that the direction of the resultant progressively approaches the horizontal. Therefore, in order to obtain the maximum effect of the resultant on the foetus, especially at the lower rotational speeds, the mother should be placed in such a position on the machine as to obtain the nearest possible parallelism between the direction of action of the resultant and the line connecting the center of gravity of the foetus and the center point of the opening of the pelvis through which the foetus has to travel on its way out. To enable this to be accomplished at the lower rotational speeds, at which the gravitational force is of increasingly greater importance, it is necessary that the stretcher be given an inclination corresponding to the prediagnosed g's at which it is expected that delivery will take place. This may be accomplished by modifying the above described embodiment of FIGS. 1 to 3 of the drawings to the extent that the deck 28 of such embodiment is dispensed with, and instead supporting the stretcher 24 directly on the I-beams 26 and two standards 120 as is shown in FIG. 4 of the drawings. In such construction, the I-beams 26 are provided with two lugs 121 to which the foot end of the stretcher is pivotally connected by means of a removable rod 122 that extends through openings provided in the side channels 31 of the stretcher. The standards 120 are securely welded to the I-beams 26 and are provided with a number of openings 123 through which a removable rod 124 may he inserted to support the stretcher at different inclinations dependent on the pre-determined rotational speeds selected for delivery, as is indicated by the dotted partial outlines of the stretcher in FIG. 4. Like the rod 122, the rod 124 extends through openings provided in the side channels 31 of the stretcher. The standards 120 also support the frame 106' for the governor 105.

As is shown in FIG. 5 of the drawings, it is also possible to have the stretcher automatically adjust its slope to the optimum direction at whatever rate of rotation it happens to be spinning at a given moment. This is achieved by hinging the stretcher at its head end on the standards 120' by means of a removable rod extending through openings provided in the side channels 31 of the stretcher and openings 125 provided in such standards 120' at a moderate height above the main I beams 26 of the machine, and letting the foot end of the stretcher rest freely on the outer ends of such I-beams. If, for example, the height of the openings 125 in standards 120' is selected so that the angle of repose of the stretcher corresponds to the angle of inclination the stretcher would assume when subjected to a centrifugal acceleration of two g's, no elevation of the foot end of the stretcher will occur before the speed of rotation is high enough to cause a horizontal component of two g's. As soon as that minimum is exceeded, the foot end of the stretcher will leave the surfaces of the I-beams 26 and rise higher and higher as the speed of rotation is increased, to provide the stretcher with a slope which corresponds to the resultant of the gravitational and acceleration forces at any given speed of rotation of the machine. Thus as the physician slowly increases the g's to the value at which the travel of the foetus begins, the centrifugal and gravitational forces automatically adjust the inclination of the mother's body to the optimum position for efficient application of the accelerating forces. This assures that the patient will be submitted to the very minimum acceleration which is necessary to produce the dislodgement of the foetus. When the child has been delivered and the mother cut out in the manner described in the embodiment of FIGS. 1-3, the foot of the stretcher will return to a gentle landing on the I-beams 26 as the machine decelerates. It will he understood, that in all of the embodiments of the invention it is the primary purpose of the apparatus disclosed to accomplish delivery of the foetus by providing the necessary g`s required in any particular instance and this even though the supplementary forces supplied by the patient are zero either because she is too weak to render any assistance at all, or has lost consciousness.

It will be understood that other changes and modifications may be made in the apparatus without departing from the spirit of the invention, or the scope of the appended claims.

What is claimed is:

1. Child delivery apparatus comprising a centrifuge, means for supporting said centrifuge for rotational movement about a vertical axis, means for holding the patient's body against dislodgement by the centrifugal forces created in such rotational movement, with her body disposed radially of said vertical axis in proper attitude for delivery of the child and with her head located at or near said vertical axis, said holding means including means for securing the patient's body in place on said centrifuge, means for supporting the patient's limbs in child bearing position against the centrifugal forces, and means for supporting the abdomen against such forces, means connected to said supporting means for rotating said centrifuge, means controlling said rotating means to precisely control the rate of revolution of said centrifuge by said rotating means, and means for applying braking action to the revolving centrifuge.

2. Child bearing apparatus such as defined in claim 1, in which said means for supporting the patient's limbs, include means engaging and supporting the thighs of the patient, and means for holding the feet in place.

3. Child bearing apparatus such as defined in claim 2, in which said supporting means additionally include means providing handholds for the patient.

4. Child bearing apparatus such as defined in claim 1, including a detachable stretcher for carrying the patient to and from said centrifuge, and means positively connecting said detachable stretcher to said centrifuge to form a unitary device, said holding, and limb and abdomen supporting means being mounted on said detachable stretcher.

5. Child bearing apparatus such as defined in claim 1, including means on said turntable for counter-balancing the weight of the patient thereon, said counter-balancing means including a plurality of containers adjustably loaded with a weighting material to vary the weight thereof, and means for securing said containers so said centrifuge.

6. Child bearing apparatus such as defined in claim 1, including means located between said limb supporting means in position to receive the discharged infant, said infant receiving means being connected to and supported by said limb supporting means.

7. Child bearing apparatus such as defined in claim 1, including means enclosing said centrifuge for exclusion of personnel during the rotating movements of said centrifuge and having an entry opening closed by a gate, and means controlled by said gate for controlling the operation of said centrifuge.

8. Child bearing apparatus such as defined in claim 1, in which said holding means includes detachable stretcher means having a body supporting portion of sufficient length to enable the patient's head to be located at or near said vertical axis of said centrifuge, and means for attaching said stretcher means to said centrifuge against dislodgement thereof in a radial direction with relation to said vertical axis by the centrifugal forces.

9. Child bearing apparatus such as defined in claim 8, in which said attaching means comprises means for connecting the foot end of said stretcher means to said turntable, and means for supporting the head end of said stretcher means raised with relation to the foot end thereof so that said stretcher is in an inclined position relative to said vertical axis.

10. Child bearing apparatus such as defined in claim 9, in which said foot end attaching means pivotally connects said stretcher means to said turntable, and in which said head end attaching means is selectively operable to support the stretcher means at a plurality of given inclinations relative to said vertical axis.

11. Child bearing apparatus such as defined in claim 8, in which said attaching means supports the head end of said stretcher means for pivotal movement about a horizontal axis which intersects said vertical axis, the foot end of said stretcher means being unattached so that said stretcher means automatically assumes different inclinations at different rotational speeds of said turntable above a given rotational speed thereof.

12. Child delivery apparatus comprising a turntable, means for supporting said turntable for rotational movement about a vertical axis and enabling a patient to be positioned in child bearing position on said turntable radially of such vertical axis and with her head located in the proximity of the center of rotation of said turntable, means connected to said supporting means for rotating said turntable at given controlled rotational speeds, means connected to said turntable for holding the patient's body on said turntable in said radial position against dislodgement relative thereto by the centrifugal forces created by the rotational movements of said turntable, means connected to said turntable for preventing undesirable distortion of certain parts of the patient's body under such centrifugal forces, and means for receiving the child delivered by the patient.

13. Child bearing apparatus such as defined in claim 12, including means controlled by the delivery of the child into said receiving means for controlling the operation of said rotating means.

14. Child delivery apparatus comprising a turntable, means for supporting said turntable for rotational movement about a vertical axis and enabling a patient to be positioned in child bearing position on said turntable radially of such vertical axis and with her head located in the proximity of the center of rotation of said turntable, means connected to said supporting means for rotating said turntable at given controlled rotational speeds, means connected to said turntable for holding the patient's body on said turntable in said radial position against dislodgement relative thereto by the centrifugal forces created by the rotational movements of said turntable, said holding means including detachable stretcher means having a body supporting portion of sufficient length to enable the patient's head to be located at or near the center of rotation of said turntable, and means for attaching said stretcher means to said turntable against dislodgement thereof in a radial direction with relation to said vertical axis by the centrifugal forces, means connected to said turntable for preventing undesirable distortion of certain parts of the patient's body under such centrifugal forces, a flexible receiving member detachably connected to said stretcher means and arranged to receive the child delivered by the patient, and means arranged to be operated by the weight of the child contained in said receiving member to control the operation of said rotating means.